埋地用改性高密度聚乙烯(HDPE-M)双壁波纹管
产品介绍

一 、产品简介:埋地用改性高密度聚乙烯(HDPE-M)双壁波纹管先经改性造粒制得料,经全自动高速HDPE-M双壁波纹管生产线挤出成型。该料采用高密度聚乙烯树脂为主要成份,并加入适量的无机纳米粒子、高分子量共聚增容剂、通过往复式单螺杆挤出机改性造粒而成,具有弯曲模量高、冲击韧性好优良等特点,并终赋予管材优良的综合性能。
二、执行标准:T/CECS 10022-2019 《埋地用改性高密度聚乙烯(HDPE-M)双壁波纹管材》 中国工程建设标准化协会
三、产品用途:市政工程道路排污和排水管材、城镇污水处理厂管网工程、城市管廊、高速公路、桥梁排水工程、截污管道工程、泄洪排洪工程、涵洞等领域。
产品物理性能

产品规格/尺寸 单位为mm

安装连接方式
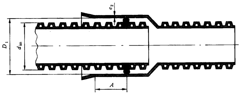
一、产品结构示意图:

管材结构示意图
二、产品连接方式:橡胶圈密封承插。





